Beschreibung
Rohrrahmen Rondo für runde Verkehrszeichen und Rohrpfosten
Der Rohrrahmen Rondo ist speziell für die sichere und dauerhafte Befestigung von runden Verkehrszeichen konzipiert. Gefertigt aus robustem, feuerverzinktem Stahl bietet dieser Rohrrahmen eine stabile Plattform zur normgerechten Montage von Verkehrszeichen im öffentlichen Straßenraum.
Robuste Konstruktion aus feuerverzinktem Stahl
Der Rohrrahmen Rondo für runde Verkehrszeichen besteht aus hochwertigem feuerverzinktem Stahl und ist dadurch optimal vor Korrosion und Witterungseinflüssen geschützt. Die langlebige Ausführung macht ihn ideal für den dauerhaften Einsatz entlang von Straßen, Wegen und Verkehrsflächen.
Verfügbare Durchmesser
- Ø 420 mm
- Ø 600 mm
- Ø 750 mm
Produktdetails
- Material: Stahl, feuerverzinkt für erhöhten Korrosionsschutz
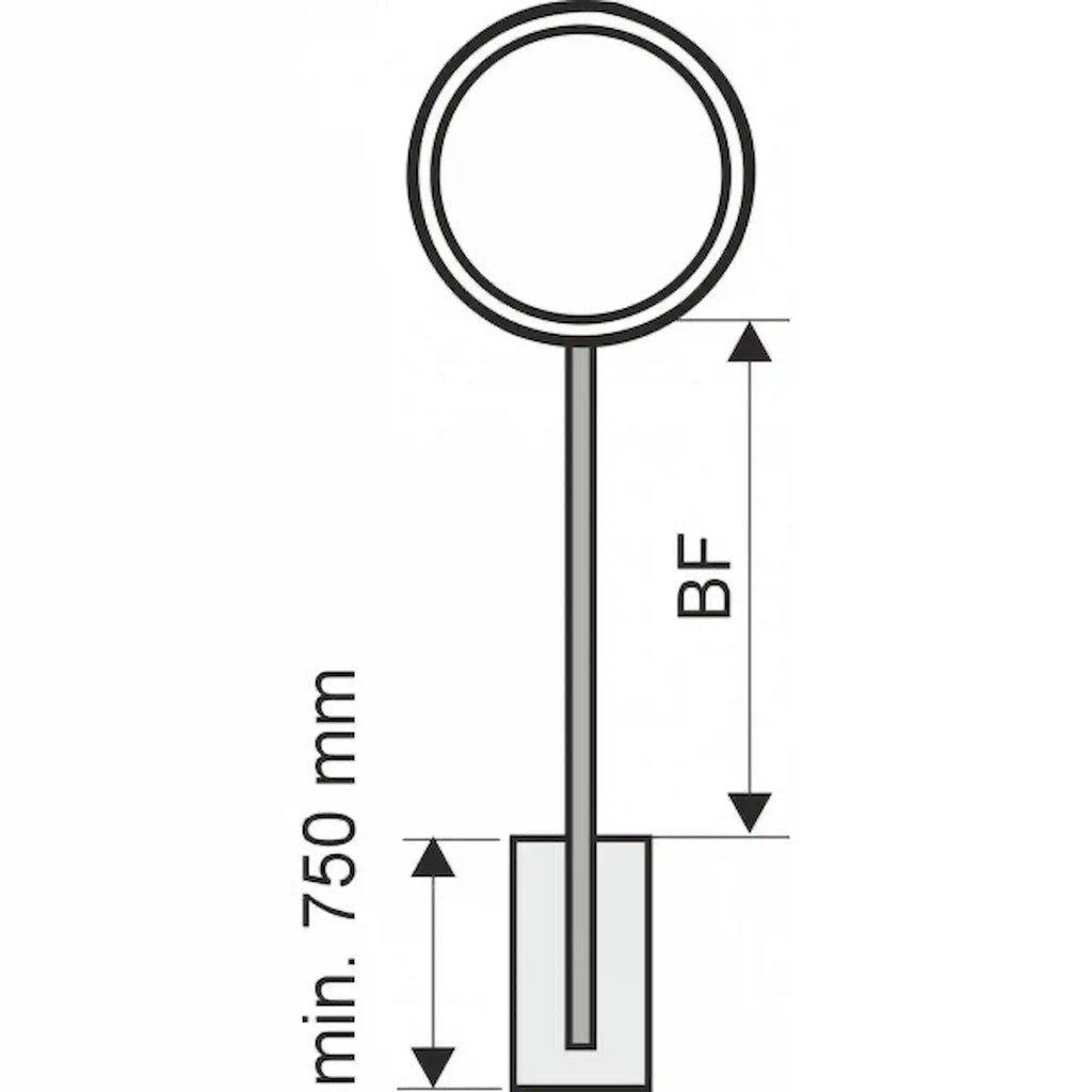
- Standrohrlängen: 1350 mm oder 3000 mm für flexible Montagemöglichkeiten
- Bodenfreiheit: 600 mm oder 2250 mm – wählbar je nach Einsatzbereich
- Unterflur: 750 mm für stabile Verankerung und einfache Installation
- Aufstellung: Einbeinig für zuverlässige Stabilität und platzsparende Montage
Einfache Montage der runden Verkehrszeichen
Der Rohrrahmen Rondo ist mit angeschweißten Laschen ausgestattet, an denen die runden Verkehrszeichen mithilfe von Schilderschrauben sicher befestigt werden können. Dies ermöglicht eine schnelle Montage sowie eine dauerhaft feste Verbindung zwischen Verkehrszeichen und Rahmen.
Flexible Lösung für professionelle Verkehrstechnik
Dank der verschiedenen Größen- und Längenoptionen bietet der Rohrrahmen Rondo eine hohe Flexibilität für unterschiedliche Anforderungen in der Verkehrsbeschilderung. Er eignet sich ideal für Kommunen, Straßenbauunternehmen und andere Organisationen, die Wert auf eine langlebige, normgerechte und professionelle Lösung legen.
Verlassen Sie sich auf den Rohrrahmen Rondo, um runde Verkehrszeichen fachgerecht zu montieren und einen wichtigen Beitrag zur Verkehrssicherheit und Ordnung im Straßenverkehr zu leisten.


