Beschreibung
Rohrrahmen für Pfeilwegweiser – einfache Ausführung
Der Rohrrahmen für Pfeilwegweiser in einfacher Ausführung bietet eine stabile und zuverlässige Lösung für die sichere Aufstellung von ortsfesten Verkehrszeichen. Durch seine robuste Konstruktion sorgt der Rahmen für eine feste, standhafte Positionierung der Pfeilwegweiser und gewährleistet eine klare sowie gut erkennbare Verkehrsführung im Straßenverkehr.
Hochwertige Ausführung aus feuerverzinktem Stahl
Der Rohrrahmen für Pfeilwegweiser besteht aus feuerverzinktem Stahl und ist dadurch optimal vor Korrosion und Witterungseinflüssen geschützt. Die langlebige Materialqualität macht ihn ideal für den dauerhaften Einsatz im öffentlichen Raum und auf Verkehrsflächen.
Produktdetails
- Material: Stahl, feuerverzinkt für langanhaltenden Korrosionsschutz
- Standrohrlänge: 3000 mm für eine sichere, aufrechte Aufstellung
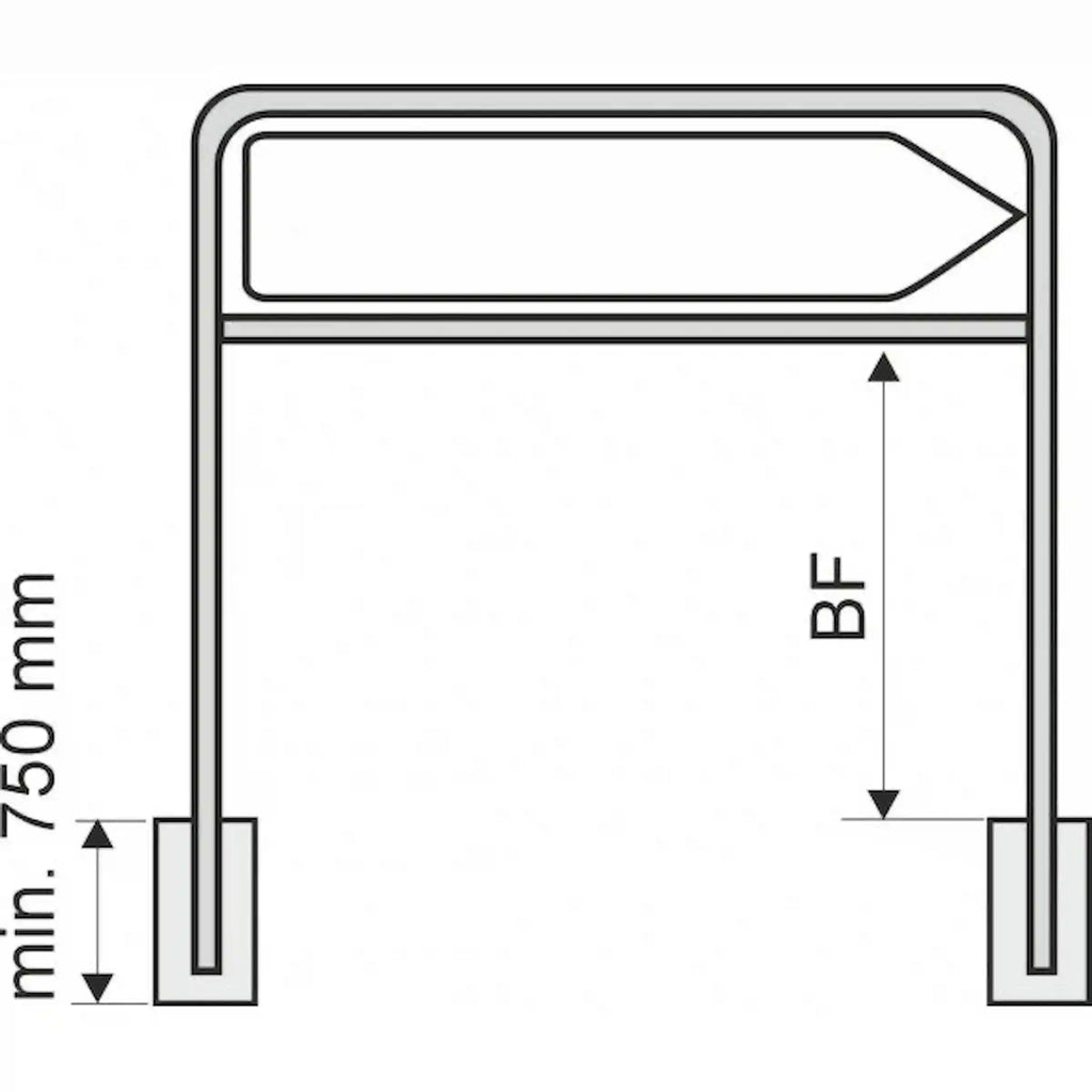
- Bodenfreiheit: 2250 mm für optimale Sichtbarkeit der Pfeilwegweiser
- Unterflur: 750 mm für stabile Verankerung und einfache Installation
- Aufstellung: Einbeinig für eine platzsparende und zuverlässige Positionierung
Einfache Montage der Pfeilwegweiser
Der Rohrrahmen für Pfeilwegweiser (einfach) ist mit angeschweißten Laschen ausgestattet, an denen die Verkehrszeichen mithilfe von Schilderschrauben sicher befestigt werden können. Dies ermöglicht eine schnelle Montage sowie eine dauerhaft feste Verbindung zwischen Rahmen und Verkehrszeichen.
Professionelle Lösung für Verkehrssicherheit
Dank seiner robusten Bauweise und präzisen Abmessungen eignet sich der Rohrrahmen für Pfeilwegweiser besonders für Straßenbauunternehmen, Kommunen und andere Organisationen, die Wert auf eine normgerechte, langlebige und professionelle Verkehrsbeschilderung legen.
Mit diesem Rohrrahmen stellen Sie Pfeilwegweiser fachgerecht auf und leisten einen wichtigen Beitrag zur Verkehrssicherheit und Orientierung im Straßenraum.


